DETAIL2467
DETAIL2550
DETAIL2551
Product no.

Threaded Gas Plugs (TF)

Protect radiators during powder painting with the TF range designed to prevent paint cracking during unscrewing in automotive applications.

Ideal for these applications:
Try before you decide
Request sample
Out of stock
Sign in to buy
All benefits
Hex design
easy tool use for fast install/removal
Paint-safe
avoids cracking after powder coating
Test-ready
seals radiator openings during pressure tests
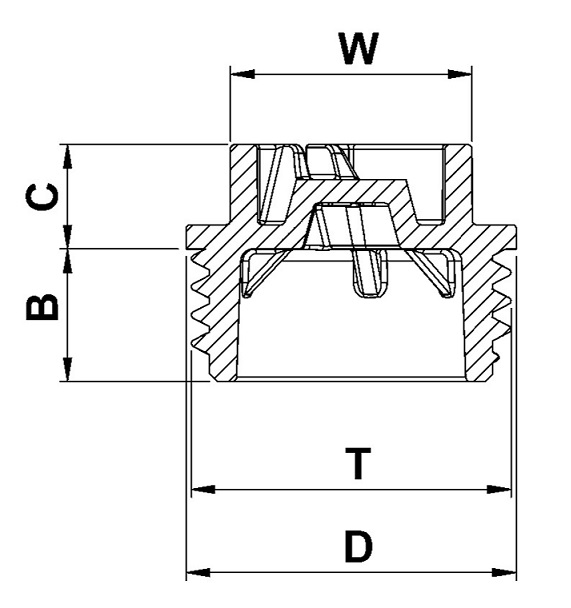
Product specifications
Size unit:
CO2
B mm
C mm
D mm
W mm
TF2101A-GA10A Natural 0 8.5 6.9 21.2 16

Learn how our full service can add value to your business

Your full-service protection solution partner

Driving innovation and reliability for a safer future

Matching applications to infrastructure
We’re application specialists. We are familiar with each segment’s unique challenges, from assembly conditions to ergonomics.
Value added services
We’re application specialists. We are familiar with each segment’s unique challenges, from assembly conditions to ergonomics.